Вибростенд ТИК-ВВ производства ООО НПП «ТИК» (далее –вибростенд) предназначен для настройки, калибровки и поверки виброизмерительной аппаратуры (акселерометров, вихретоковых датчиков измерения вибрации (проксиметров) и датчиков скорости) в лабораторных и производственных условиях. Так же к вибростенду ТИК-ВВ дополнительно можно приобрести приспособление для установки вихретоковых преобразователей TIK-UDS и юстировочное приспособление ТИК-ЮСТ.
Приспособление для установки вихретоковых преобразователей TIK-UDS предназначено для поверки и калибровки вихретоковых преобразователей совместно с вибростендом ТИК-ВВ (рис. 1). Фактически приспособление является установочным кронштейном для вихретоковых преобразователей.
Рис. 1. Внешний вид TIK-UDS
При использовании приспособления для установки вихретоковых преобразователей TIK-UDS установка «нулевого» зазора производится только по выходному напряжению с драйвера преобразователя.
Юстировочное приспособление ТИК-ЮСТ предназначено для настройки и поверки (калибровки) датчиков осевого сдвига и датчиков виброперемещения (рис. 2). Приспособление осуществляет имитацию поверхности контролируемой детали и задание зазоров в диапазоне измерения датчиков. Оснащено индикатором часового типа [1].
Рис. 2. Внешний вид ТИК-ЮСТ
На объектах технологических процессов, которые работают круглосуточно, в большинстве случаев работы по поверке (калибровке) вихретоковых преобразователей (осевого сдвига и виброперемещения) происходят последовательно в одно и тоже время с использованием одного вибростенда.
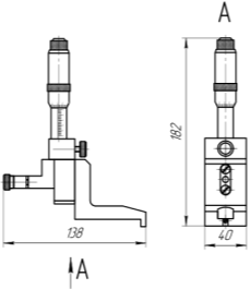
Нами предлагается универсальное приспособление для вибростенда ТИК-ВВ, обладающее рядом преимуществ. Внешний вид и габаритные размеры разработанного приспособления показаны на рис. 3.
Рис. 3. Внешний вид приспособления
Данное приспособление состоит из станины и цифрового юстировочного устройства (рис. 4).
Рис. 4. Приспособление в сборе
Приспособление фиксируется на вибростоле вибростенда через штатные места при помощи болтовых соединений (рис. 5).
Рис. 5. Крепление приспособления
Приспособление позволяет выставлять «нулевой» зазор не только по выходному напряжению (в В) с драйвера преобразователя, но и по фактическому зазору (в мм/мкм), соответствующему нулевому смещению выходного сигнала.
Высокая точность позиционирования установочного зазора относительно образца металла, установленного на вибраторе вибростенда, при закреплении датчика на станине в свою очередь способствует повышению достоверности показаний (снижает случайную погрешность измерений), получаемых при проведении поверки (калибровки).
Помимо повышения точности установочного зазора, данное приспособление исключает необходимость в использовании юстировочного приспособления ТИК-ЮСТ.
Положительным результатом является сокращение времени на проведение подготовительных мероприятий перед поверкой (калибровкой).
В дополнение, приспособление может быть применено при работе с другими типами вибростендов, например, ВСВ-131М производства ООО «Виконт».
Литература:
- Вибростенд взрывозащищенный тик — ВВ (TIK — VV). Руководство по эксплуатации ЛПЦА.441161.001 РЭ

